Патент для Mazda: унікальне гібридне авто із роторним двигуном
Mazda вже неодноразово протягом десятиріч з’являється там, де йде мова про роторні двигуни. І от компанія знову нагадала про себе та підбурила фанів роторних двигунів очікувати свою версію гібридного автомобіля із роторним двигуном.
Що ж за новий патент можна очікувати від Mazda?
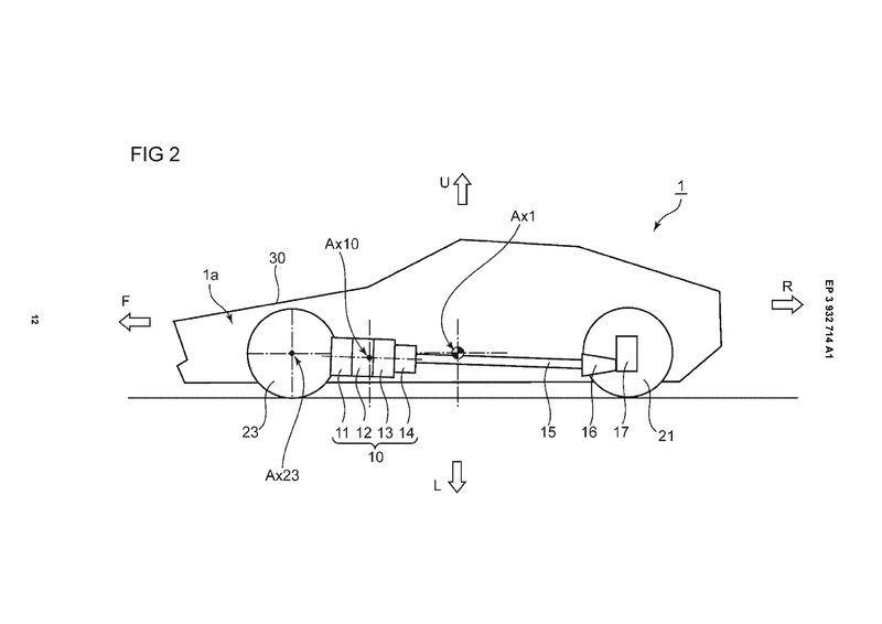
Мова йде про задньопривідну автівку, яку в рух приводить гібридна силова установка. Основою є роторний бензиновий двигун та електричний мотор.

Mazda вже отримувала патенти, отже патент на гібридну установку із роторним двигуном не є новинкою для компанії. Попередній патент, який Mazda отримала декілька років тому, був більше новим аніж революційним, проте так і не використовується у виробництві.
Щодо нового патенту – це абсолютно нова платформа із заднім приводом. У передній частині автівки розташували бензиновий двигун та три ротори, проте за допомогою такої установки рухається задня вісь.
У компанії Mazda використовували конфігурацію із трьох роторів для своїх автомобілів, проте це було аж на початку 90-х років.
Наявність патенту не гарантує того, що авто із таким оснащенням все таки випустять. Ще із 2015 року було багато розмов щодо задньоприводної Mazda із роторним двигуном у кузові купе, тоді з’явились фото концепт-кара RX-Vision.
Любителі драйву дуже оцінили Mazda RX-8, саме після цієї моделі роторний двигун став культовим.
Відмінність роторних двигунів від поршневих – суттєво менша вага порівнюючи потужність. Такі відмінні характеристики ваги мають чудовий вплив на швидкість та витрату пального. Також перевагою є те, що такий автомобіль більш керований, оскільки його простіше “втримати”.
Ще важливо те, що роторні двигуни мають на 30-40% менше деталей у порівнянні із поршневими та менш навантажуються на високих обертах.
Мінусом роторного двигуна вважають більші навантаження температури та практичний ресурс, який є меншим. Саме це і стало на заваді набуття великого поширення таких двигунів.